澎湃新闻记者 葛佳
由昔日“顶流”基金经理周应波创立的上海运舟私募基金管理有限公司(简称“运舟资本”)近日完成备案,这引起业内高度关注。
启航后,运舟资本下一步有哪些发展计划?公司的投资策略和对A股未来的判断又是怎样的?周应波在近日接受澎湃新闻(www.thepaper.cn)记者采访时,对上述问题一一作出解答。
新产品三季度有望落地
据中国基金业协会官网信息,运舟资本已于7月11日在协会完成了备案登记。这家成立于3月31日的私募基金,注册资本为2000万元,实缴资本为1200万元,法定代表人及执行董事为周应波。

7月11日深夜,周应波发了一条朋友圈:“千里之行,始于足下。每一步都不容易,每一步都算数。”
显然,作为运舟资本的掌门人,周应波对未来的规划已了然于胸。“完成备案后,下一步的工作主要分对内、对外两个方面,对内的核心是继续做好团队建设,对外的核心是在三季度筹备发行第一只产品。”
在产品发行方面,周应波透露首只产品将会由其担任基金经理,聚焦全行业成长股和一些他感兴趣的新兴科技领域,同时也会紧扣绝对收益特征,充分发挥私募基金的灵活性特点,通过对回撤控制、建仓节奏、时点把握等方面的把控来更好地降低基金净值波动。周应波预计,新产品有望在三季度落地。
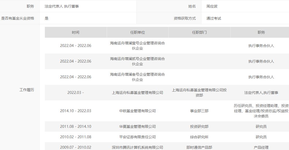
周应波是目前业内口碑最佳的“成长派基金经理”之一,他是北京大学控制理论与控制工程专业硕士,历任平安证券研究员,华夏基金担任研究员,2014年加入中欧基金,2015年11月起正式担任新基金——中欧时代先锋的基金经理。

2016年,也就是中欧时代先锋基金成立的第一个完整年度,周应波一战成名,中欧时代先锋全年以15.06%的收益,位列同类基金第4名。
历经牛熊变换,截至2021年12月16日,中欧时代先锋在周应波管理的6年多时间里,净值增长345%,同期业绩比较基准为9.02%;该基金2021年三季度末的规模增至235.88亿元,周应波个人管理基金规模则在2021年突破600亿元,跻身“顶流”基金经理阵营。

在谈及中长期规划时,周应波表示,运舟资本希望能成为一家投资方向清晰、业绩表现卓越、投资者与团队共赢的“一流的成长股机构投资者”。
将不断通过股权激励等方式培育合伙人
团队建设同样被周应波放在十分重要的位置。
周应波说,运舟资本团队建设的重中之重是要加强整个投研体系,特别是成熟研究员的招聘和引进。同时在中后台部门例如风控、运营等部门补充增加人手。
据中国基金业协会官网信息,运舟资本现有股东均为自然人股东,共有六人。
周应波持有47%股份,为公司第一大股东、实际控制人;陆文俊持股比例为32%,为第二大股东、总经理;刘磊持股比例为15%,是公司第三大股东;翟鹏、吕一闻、符旻三人持股比例均为2%,并列第四大股东,其中符旻为合规风控负责人。

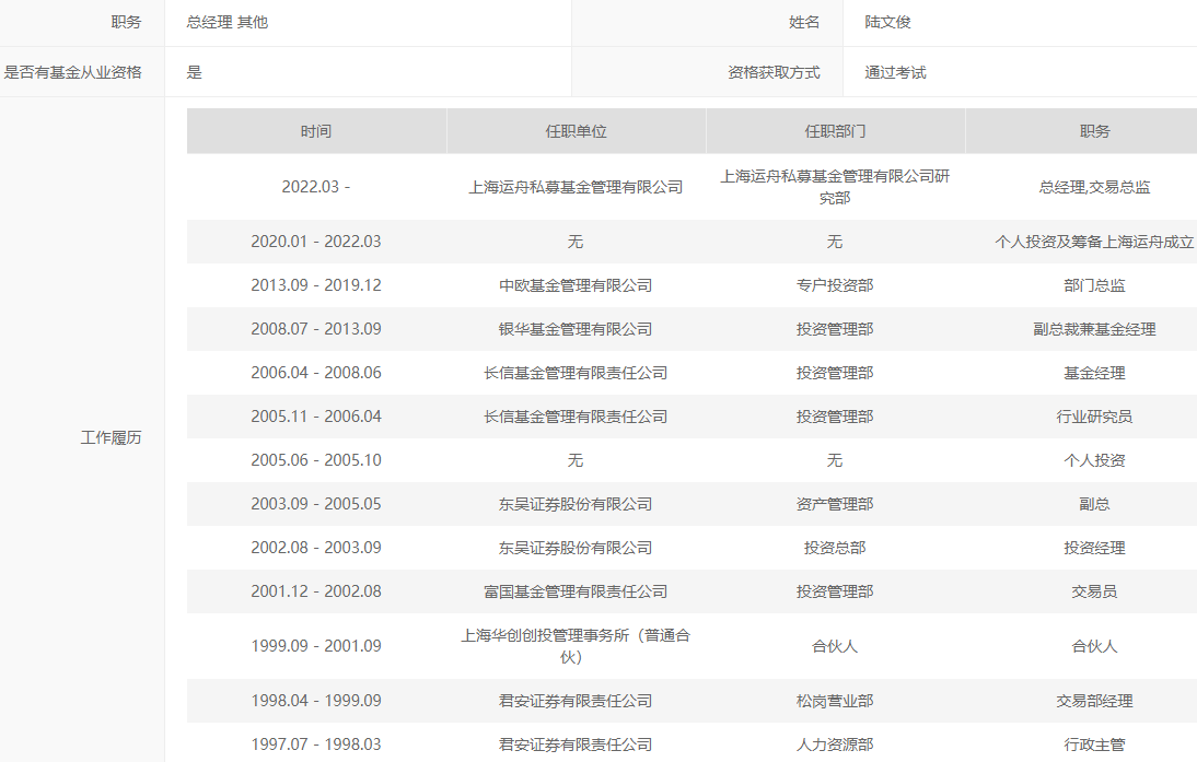
公开资料显示,陆文俊此前是中欧基金绝对收益策略组投资总监,2013年9月加入中欧基金,曾任银华基金副总经理,同时兼任A股基金投资决策委员会副主席、A股基金投资总监、银华核心价值优选股票、银华和谐主题混合基金经理。

此外,刘磊是2007年前后的市场第一代交易高手,他曾在上海宏流担任首席投资官、深圳金伯维投资担任投资副总监。
吕一闻、翟鹏均是资深研究员,曾经在华夏基金任职,吕一闻之后转战中欧基金担任电子行业研究员,两人将会负责运舟资本的研究工作。
符旻则是资深风控总监,曾在嘉实基金、银华基金、中欧基金工作,具备10年风控体系工作经验。

关于这六位初始合伙人的分工,周应波透露,自己负责公司整体的管理和投研体系;陆文俊会在公司整体运营管理中更多负责中后台的风险控制等事务;刘磊会负责市场分析、整体体系搭建相关事务;翟鹏、吕一闻一同负责运舟资本的研究工作;符旻负责风控运营。
“整体模块上我们实行的是一个类合伙人机制,除了六位初始合伙人,未来我们也会积极地在关键的中后台岗位和投研体系中去发展新一代的合伙人,不断地通过股权激励等方式来培育合伙人。”周应波称。
具体到投研团队方面,周应波表示,运舟资本初期投研人员均具有丰富的买方或卖方经验,从而形成少而精的研究团队,主要覆盖电子科技、化工有色、医药、新消费等几大领域。公司计划未来两年内进一步充实、完善研究梯队,形成坚实的研究支持力量。
A股到了一个中等性价比区间
作为昔日“顶流”基金经理,周应波对当下A股的判断也是市场关心的内容。
“从四月底开始到七月初的反弹,已经到了一个中性位置,从中长期看,市场仍然是处在一个高性价比的区间,” 周应波的观点十分鲜明,他认为四月底的市场估值处于历史性低点,但目前A股整体上还处在一个比较适中的性价比区间。
周应波预计,下半年A股市场会以震荡为主,“随着时间往年底推移,关于未来三至五年的发展脉络可能会看的更清晰,这个时候市场的震荡中枢可能会上行。”
在此过程中,哪些行业具备投资机会呢?
“我们还是更看好一些中长期能有明显结构性成长的行业。”周应波看好2022-2025年新一轮创新周期的开启,并列举了四个方面:第一,能源变革;第二,AI在各行业的应用;第三,中国制造升级版;第四,新兴消费。
虽然以新能源发电和新能源车为代表的行业个股自年初以来已收获较大涨幅,但周应波认为,“这个行业短期是有点过热,但是产业发展空间是比较明确的,所以依然值得重点关注。”
具体来看,在新能源生产端方面,周应波认为,光伏从新兴能源到主力能源的过程,中国作为产业主导国,存在大量的产业链上下游的机会。新能源应用端方面,汽车电动化、储能的发展,锂电池及其产业链,在未来5年预计仍有较大的增长空间,存在大量细分领域的机会。
“第二个,我们看好人工智能在各个领域的应用,我们认为整个算力成本的大幅下降和整个算法模型的大幅提升,实际上给人工智能未来几年的指数级增长奠定了基础,目前处在这样一个拐点上,” 因此,周应波对整个人工智能从软件到硬件的产业链都比较看好。
此外,在中国制造升级版方面,周应波认为中国制造从数量型转向质量型是一个很重要的看点,半导体、军工、新能源等领域,大量国产的基础新材料企业在逐步替代外资、获得市场份额,中国的化工产业从傻大粗笨走向精细化的过程中,将涌现大量的投资机会;生物技术方面,在医疗器械、创新药、化工低碳替代等方面存在很多应用的机会。
“最后一个是看好新兴消费,”周应波表示,尽管中国互联网的流量红利有见顶现象,但这种结构性的变化会在孕育几年后转化成实际的生产力,14亿人口的深度城市化、新生Z世代的生活方式变化等,将带来很多新兴消费方向上的投资机会。
责任编辑:是冬冬
校对:丁晓
本站声明:网站内容来源于网络,如有侵权,请联系我们,我们将及时删除。
© 版权声明
文章版权归作者所有,未经允许请勿转载。